膠球清洗裝置系統反沖洗收球網結構說明?
膠球清洗裝置系統反沖洗收球網結構說明?目前的膠球清洗裝置系統中,會使用多個設備,其中包括一個關鍵設備是收球網設備,目前的收球網設備內具有可轉動的柵板,在使用時,柵板關閉,收球網設備進行收球;膠球不進行清洗時,柵板打開,減少水阻。在柵板關閉時,由于關閉柵板的手柄不具有鎖緊功能,因此,在收球過程中,柵板容易出現轉動,從而出現收球效果差的問題。
我司連云港市宏琦電力輔機有限公司一種旋擺自鎖反沖洗收球網,以解決上述在收球過程中,柵板容易出現轉動,從而出現收球效果差的問題。為解決上述問題,新型提供一種旋擺自鎖反沖洗收球網,包括:安裝在主體側壁上的柵板轉動裝置、柵板鎖緊裝置和安裝在主體內的柵板,柵板轉動裝置包括:通過螺栓固定在主體側壁上的定位板,軸穿過定位板的中心通孔,手柄通過螺絲固定在軸上,手柄帶動連接的軸從主體內拉出,并帶動軸旋轉到手柄與定位板上的兩個定位孔相對應的位置處,軸旋轉帶動連接的柵板閉合或開啟,手柄帶動軸推入到主體內的同時,插入到定位板上的兩個定位孔中的任意一個;
柵板鎖緊裝置包括:通過手柄帶動主體內軸的轉動,旋轉到與定位板上的定位孔相對應的位置處卡持,使軸上的定位板卡持閉合的柵板并鎖緊。優選的,所述定位板上的定位孔的數量為兩個以上。此外,新型還提供一種膠球清洗裝置系統,包括上述任一項所述的旋擺自鎖反沖洗收球網。
由于手柄可固定在定位板上,并通過軸固定柵板的開啟或閉合狀態,從而避免柵板的位置發生變化,從而避免影響水流通過或達到良好收球的效果。在定位板上可具有兩個以上的定位孔,以保證柵板達到佳的開啟或關閉效果。
附圖說明
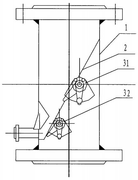
圖1是實施例的主視圖;
圖2是實施例的左視圖;
圖3是實施例的俯視圖;
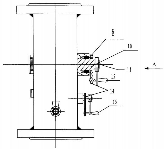
圖4是圖2中的A向局部示意圖。
具體實施方式
為清楚說明新型中的技術方案,下面給出優選的實施例并結合附圖詳細說明。
膠球清洗裝置參見圖1,圖1是實施例的主視圖,包括:安裝在主體1側壁上的柵板轉動裝置31和柵板鎖緊裝置32和安裝在主體1內的柵板2。柵板2的示意圖可參見該設備的俯視圖圖3,圖2為實施例中設備的左視圖,柵板轉動裝置31包括:通過螺栓8固定在主體1側壁上的定位板14,定位板14的通孔中安裝有軸10,手柄15通過螺絲11固定在軸10上,當手柄15轉動時,帶動軸10旋轉,軸10帶動主體1內的柵板閉合或開啟,如圖3所示。
柵板轉動裝置31的定位板14上具有兩個定位孔7,手柄15插入到一個定位孔時,柵板2處于開啟狀態,此時可防止對水流產生阻力;當手柄15帶動軸10從主體1內拔出,手柄15帶動軸10轉動時,轉動到二個定位孔7的位置上時,將軸10推入到主體1內,手柄15可插入到二個定位孔7內,此時主體1內的柵板2處于閉合狀態,從而實現設備的收球功能。
柵板鎖緊裝置32的手柄15可固定在定位板14上,如圖4所示,手柄15轉動過程中,通過連接的軸的旋轉帶動軸內的定位板將處于關閉狀態的柵板2鎖緊固定,從而避免柵板2的位置發生變化,從而達到較好的收球效果。在定位板14上可具有兩個以上的定位孔,以保證柵板2達到佳的開啟或關閉效果。收球網設備可應用在膠球清洗裝置中,起到良好的收球效果。
對于新型各個實施例中所闡述的收球網設備,凡在新型的精神和原則之內,所作的任何修改、等同替換、改進等,均應包含在新型的保護范圍之內。